Contáctenos
- Alto - Tech Industrial Desarrollo Zona, Zhengzhou, Henan.
- sales@ottimafluid.com
+86-13503854331
WeChat: +86-13503854331
Whatsapp: +86-13503854331
Brazo de carga de camiones
El brazo de carga de camiones está especialmente diseñado para la carga de camiones cisterna o ferroviarios.
Se utiliza para cargar o descargar camiones cisterna o ferrocarril para la transferencia de líquidos entre el camión cisterna y la tubería de almacenamiento y transporte.
El brazo de carga del camión está conectado en serie con la tubería por la junta giratoria con rotación flexible y buen rendimiento de sellado.
La carga o descarga se realiza a través de la boca de acceso en la parte superior de la cisterna.
Descripción
El brazo de carga de camiones está especialmente diseñado para la carga de camiones cisterna o ferroviarios.
Se utiliza para cargar o descargar camiones cisterna o ferrocarril para la transferencia de líquidos entre el camión cisterna y la tubería de almacenamiento y transporte.
El brazo de carga del camión está conectado en serie con la tubería por la junta giratoria con rotación flexible y buen rendimiento de sellado.
La carga o descarga se realiza a través de la boca de acceso en la parte superior de la cisterna.
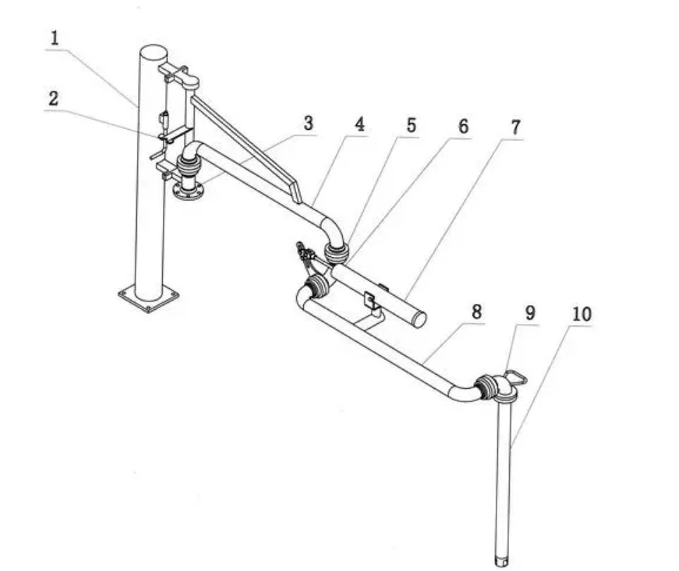
Estructura del brazo de carga del camión

1. Columna
2. Bloqueo del brazo interior
3. Brida
4. brazo interior
5. Articulación giratoria
6. Codo de articulación giratoria
7. Sistema de resorte
8. Brazo exterior
9. Giratorio
10. Tubo de caída
Especificaciones del brazo de carga de camiones
|
Nombre |
Brazo de carga superior del camión |
|
Material |
20#Steel, acero inoxidable 304,316, acero al carbono |
|
Uso |
Transferencia de fluidos |
|
Diámetro nominal |
1" a 6" |
|
Color |
En cuanto a la necesidad del cliente |
|
Certificado |
ISO9001,ISO14001,OHSAS18001 |
|
Solicitud |
Refinería petroquímica, terminal de almacenamiento |
|
Rango de temperatura |
-40 grados C - más 190 grados C |
|
Presión de diseño |
personalizado |
Como proveedor de equipos de carga y descarga de fluidos, tenemos muchos años de experiencia, nuestro servicio incluye:
1.diseño de proyecto disponible
2. Soporte de ingeniería profesional
3. Proceso de fabricación actualizado
4.Control de calidad y garantía de calidad
5. prueba del 100 por ciento antes de la entrega
6. Precio competitivo
7. Entrega rápida
8. Servicio posventa



Nuestro brazo de carga incluye: brazo de carga superior, brazo de carga inferior, brazo de carga de GLP, brazo de carga de baja temperatura de GNL, brazo de carga de amoníaco líquido, brazo de carga de cloro líquido, etc.
Nuestro equipo está altamente calificado para dar la mejor solución y servicio de carga y descarga de transferencia de fluidos para nuestros clientes.

Los brazos de carga superiores e inferiores se utilizan en diversas industrias, incluidas las de procesamiento de petróleo, productos químicos y alimentos, donde se utilizan para transferir fluidos y polvos entre tanques, camiones y vagones.
Los brazos de carga superiores se utilizan normalmente para cargar líquidos en un tanque desde la parte superior, mientras que los brazos de carga inferiores se utilizan para descargar líquidos desde el fondo de un tanque. Los brazos de carga inferiores suelen preferirse a los brazos de carga superiores porque ofrecen varias ventajas, como mayor seguridad, menos derrames y tiempos de carga y descarga más rápidos.
Los brazos de carga superior e inferior también se pueden usar para manejar diferentes tipos de fluidos, incluidos líquidos corrosivos, productos químicos peligrosos y productos aptos para alimentos. Se pueden configurar con varias opciones, incluidas juntas giratorias, desconexiones rápidas y sistemas de recuperación de vapor, para cumplir con los requisitos específicos de la aplicación.
Etiqueta: Brazo de carga para camión, brazo de carga superior
También podría gustarte













